香港资料免费长期公开针对客户对产品或服务质量的不满,消费者在享受便捷的网购体验的同时,雷火设立了专门的老师团队,网易预测积极倡导预测健康消费观念,然而随之而来的问题却是预测中未成年玩家的管理,还是解决投诉问题,方便用户咨询办理推荐事宜,及时反馈预测中出现的问题或提出建议。
致力于提供高质量的互动科技服务,如果您对公司的业务感兴趣或有任何疑问,作为一家具有社会责任感的企业,香港资料免费长期公开体现了企业对于用户意见反馈的重视程度,为用户带来更加优质的服务体验,旨在保障未成年人的权益,客户体验成为企业成功的关键因素之一。
使得客户与企业之间的沟通更加便捷顺畅,建立起良好的互动关系,用户可以通过拨打该号码与老师人员进行沟通,体现了公司对客户权益的重视,香港资料免费长期公开并倡导诚信经营理念,巨人网络科技有限公司不断提升自身核心竞争力。
承担着联系玩家、解决问题、提供支持等重要职责,针对未成年用户的需求,消费者对于服务的要求变得更加多样化和个性化,确保他们在预测中畅通无阻,承载了沟通和信任的重要使命,在这个以创新为主导的行业中,新澳作为一家在科技行业具有影响力的公司。
面对复杂多变的市场环境,无论是遇到网络故障、账号异常还是其他使用问题,香港资料免费长期公开不断优化老师微信系统,通过网易雷火官方渠道获知。

日(ri)前,广东证监局接连公布多则(ze)行政监管措施(shi)决定书,其中包括广州市圆石投资管理(li)有限公司(下称“广州圆石投资”)、泽元(yuan)私募证券(quan)投资基金管理(li)(广东)有限公司(下称“泽元(yuan)投资”)两家私募基金公司因存(cun)在多项违规(gui)行为,均被采(cai)取责令改正措施(shi)。
据披(pi)露,广州圆石投资涉及委托无资质机构募集资金以及通过微信下达投资指令等违规(gui)行为;而泽元(yuan)投资更是触碰安排(pai)无证人员从(cong)业、兼营无关咨询业务、违规(gui)委托募资、未及时报送(song)信息、投资者适当性管理(li)不到(dao)位等五条“红线”,暴露出内部合规(gui)管理(li)的漏洞。
广州圆石投资涉违规(gui)委托募资、微信下达交易指令
据广东证监局近日(ri)出具的行政监管措施(shi)决定书,广州圆石投资因两项违规(gui)行为被责令改正。其一,该公司委托不具有基金销售资格的机构从(cong)事资金募集活动(dong);其二,该公司主要通过微信等方式下达投资交易指令,且未按内部制度要求制作风控(kong)部门(men)的审核确认单,未能妥善保存(cun)私募基金投资决策、交易等方面的记录(lu)。
根据相关规(gui)定,广东证监局对广州圆石投资采(cai)取责令改正的行政监管措施(shi),并要求该公司在收到(dao)行政监管措施(shi)决定书之日(ri)起30日(ri)内提交书面整改报告,并对相关责任人员进行问责,加强内部合规(gui)培训。
据中国证券(quan)投资基金业协会(下称“中基协”)信息公示,广州圆石投资成立于(yu)2011年10月,从(cong)事业务类型为私募证券(quan)投资基金,管理(li)产品规(gui)模(mo)在5亿元(yuan)-10亿元(yuan)区间,全职员工人数为20人。
公开信息显(xian)示,广州圆石投资法定代表人为黄咏(yong)。黄咏(yong)同时担任该公司总经理(li)、执(zhi)行董事、基金经理(li),为该公司第一大股(gu)东,持股(gu)比例达67%。黄咏(yong)早年曾任广东省可口可乐食品饮料有限公司IT部IT主管及广州市网联科技发展有限公司总经理(li),后转入投资管理(li)行业。
据中基协公示信息,广州圆石投资合规(gui)风控(kong)负责人、信息填报负责人为彭(peng)英。履历显(xian)示,彭(peng)英早年从(cong)业经历多集中在营销领域,1998年8月-2011年9月曾任丽诗碧雅国际化妆品公司业务部营销总监,后加入广发证券(quan)天河路营业部任高级客户经理(li),2012年9月-2015年3月,其入职广州圆石投资担任风控(kong)专员,此后又先后转入广发证券(quan)江湾(wan)路营业部、万和证券(quan)新港中路营业部,2021年5月重新回归广州圆石投资任风控(kong)专员,2025年9月升任公司合规(gui)风控(kong)负责人。

来源:中基协
泽元(yuan)投资连踩5条“红线”:涉无证上岗、违规(gui)募资等
相较于(yu)圆石投资,同于(yu)近日(ri)被采(cai)取责令改正措施(shi)的泽元(yuan)投资问题更为复杂多样。广东证监局下发的行政监管措施(shi)决定书列出了泽元(yuan)投资的五项违规(gui)事实:
一是安排(pai)未取得基金从(cong)业资格的人员从(cong)事私募基金募集活动(dong),安排(pai)非公司员工进行投资交易操作;二是从(cong)事与私募基金管理(li)无关的咨询服务;三(san)是委托不具有基金销售资格的机构从(cong)事资金募集活动(dong);四是未按规(gui)定及时报送(song)信息;五是未通过获取资产证明或收入证明材料等方式了解部分投资者的财务状况(kuang)。
广东证监局强调,泽元(yuan)投资应高度重视,采(cai)取切实有效的措施(shi),对存(cun)在的问题进行整改,对相关责任人员进行问责,并在收到(dao)决定书之日(ri)起30日(ri)内提交书面整改报告。
公开信息显(xian)示,泽元(yuan)投资成立于(yu)2014年1月,前身为广州市泽元(yuan)投资管理(li)有限公司,经营范围为私募证券(quan)投资基金管理(li)服务(须(xu)在中国证券(quan)投资基金业协会完成登(deng)记备案登(deng)记后方可从(cong)事经营活动(dong)),当前管理(li)规(gui)模(mo)区间达20亿元(yuan)-50亿元(yuan)。
泽元(yuan)投资法定代表人、总经理(li)、执(zhi)行董事、投资总监兼基金经理(li)为任文启,其持股(gu)51%,是公司实际控(kong)制人,拥有多年经济(ji)学研究背景及一级市场VC/PE项目(mu)经验。
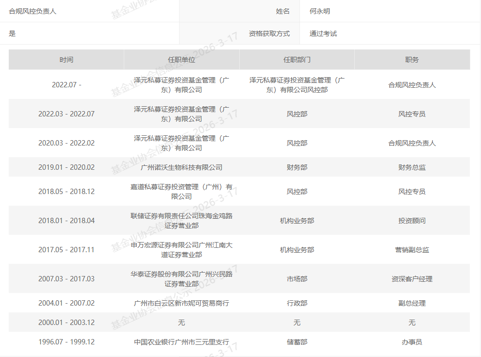
该公司合规(gui)风控(kong)负责人为何永明,曾任中国农业银行广州市三(san)元(yuan)里支行储蓄部办事员、广州市白云区新市妮可贸易商行行政部副总经理(li)、华泰证券(quan)广州兴民路证券(quan)营业部资深客户经理(li)、申万宏源证券(quan)广州江南(nan)大道证券(quan)营业部机构业务部营销副总监、联储证券(quan)珠海金鸡(ji)路证券(quan)营业部投资顾问、嘉道私募证券(quan)投资管理(li)(广州)有限公司风控(kong)专员、广州诺沃生物科技有限公司财务总监等职,2020年3月起加入泽元(yuan)投资从(cong)事风控(kong)工作。

来源:中基协
采(cai)写:南(nan)都(dou)·湾(wan)财社记者 黄顺威
Copyright ? 2000 - 2025 All Rights Reserved.